三亿官方官网三亿(中国)_三亿(中国)智慧校园移动门户已上线,为方便全校师生更好地使用移动门户,现将登录绑定及解绑、公众号操作等移动门户使用方法进行汇总说明。
1、登录绑定及解绑
打开微信,搜索公众号“三亿官方官网三亿(中国)_三亿(中国)智慧校园”,如图所示。

关注公众号后进入三亿官方官网三亿(中国)_三亿(中国),在三亿官方官网三亿(中国)_三亿(中国)底部分别是“主页、校园服务、我的”三个主菜单,“校园服务”包含“电费充值、宿舍热水充值、教餐菜单、校园地图”四个二级菜单;“我的”包含“解绑、交易记录、教工考勤”三个二级菜单。其中,“电费充值、宿舍热水充值、教餐菜单、校园地图”匿名即可访问。“交易记录、教工考勤”需要登录绑定后才可查看。如图所示。



三亿官方官网三亿(中国)_三亿(中国)移动门户实现了单点登录功能,所有接入统一身份认证的应用系统,均可通过学校统一身份认证的账号密码登录门户进行访问。门户还支持多种登录方式(包括账户密码、手机动态码、QQ/微信扫码)。
1.1、登录绑定
点击主页和统一身份认证进行登录绑定后,便可进入移动门户主页面(账号密码用学校统一身份认证的账号密码)。如图所示。

点击主页,输入用户名密码点击绑定登录。如图:

登录后进入微信门户则绑定成功。如图:

1.2、解绑
点击“我的”菜单下的“解绑”,出现上图所示页面即解绑成功。再次访问需要重新进行绑定,如图

选择,我的-个人中心,如图:

进入个人中心,点击解绑,如图

2、公众号--校园服务操作使用指南
服务对象:教职工、学生
服务内容:学生宿舍热水充值、电费充值、用电查询
使用步骤:进入“三亿官方官网三亿(中国)_三亿(中国)”公众号--底部菜单“校园服务”--充值消费及查询。
2.1、电费充值流程
1)校园服务——》电费充值,如下图所示。

2)在出现的界面,按下面提示进行。

3)按界面提示缴费。

2.2、用电查询方法
1)校园服务——》用电查询,如下图所示。

2)输入房号进行查询

2.3、学生宿舍热水充值方法
1)校园服务——》学生宿舍热水充值,如下图所示。

2)在出现的如下界面中,按提示进行消费

3、移动门户使用指南
三亿官方官网三亿(中国)_三亿(中国)移动门户是以微信为入口,面向全体师生提供的各种应用聚合服务,登录移动门户,即可访问相关功能。
服务对象:教职工、学生
服务内容:各单位业务的线上办理及查询等
使用步骤:关注“三亿官方官网三亿(中国)_三亿(中国)智慧校园”公众号--账号绑定登录--进入移动门户主页面--进行业务处理和查询。
3.1、移动门户主页面
按照操作指南中的第一步骤,进行绑定登录后,在三亿官方官网三亿(中国)_三亿(中国)点击底部菜单“主页”便可进入移动门户主页,如下图所示。说明:应用右上角标有“内“字的,表示只允许校内访问。

3.2、顶部应用说明
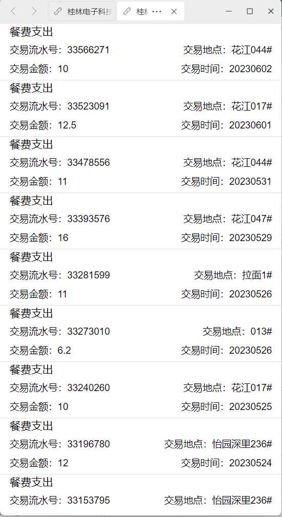
1)校园卡:查看一卡通缴费记录,如图所示(注意:数据有可能延迟)。

2)考勤:查看考勤打卡记录,如图所示(注意:数据有可能延迟)。

3)图书借阅:查看图书借阅情况,如图所示(注意:数据有可能延迟)。

4)校园地图:查看学校所有校区的地图示意图,如图所示。

3.3、我的收藏与热门应用
1)我的收藏:添加自己使用频繁的应用,便于快速进入,点击“我的收藏”下的添加,点击应用右上角的”+“”-“进行应用收藏的增加以及减少,如图所示。


2)热门应用:比较常用的热门应用系统会自动展示在“热门应用”,点击“热门应用”下的“更多”以及右面的”
”便可进入移动门户应用中心,如图所示。


3.4、任务中心使用
待办:展示需要待办理的事务。
已办:展示已经办理过事务。
跟踪:展示自己发起事务跟踪其办理进度。
办结;展示自己发起并办结的事务。
点击右面三角可进去任务中心查看更多事务的办理情况。如图所示。


3.5、我的日程
对个人日程进行维护,以及在日程中查看当天的课表信息,点击右面的三角可进入日程中心查看所有的日程,如图所示。


3.6、桂电资讯
查看学校资讯,点击后面的“+“对资讯进行订阅操作,点击右面的三角查看更多的资讯信息。

